“X”元素加持,觸動心靈的情感悸動: Esoteric F-01純A類功放評測,在F-03A與F-05綜擴發表將近8年后,二嫂Esoteric終于推出更高一階全新旗艦技術加持的F-01與F-02綜擴,與之前一樣,其中F-01為純A類設計可輸出30W(8歐姆)、F-02為AB類設計可輸出120W(8歐姆) ,用家可針對喇叭的特性與聲音偏好來選擇,若是較重視音質的,當然以純A類F-01為優選,若是喇叭比較難伺候或是喜歡極大動態與絕對速度反應者,那可能F-02就較適合你。 F-03A自從問世以來就是MY-HiEND參考擴大機至今,表現可說是相當稱職,搭配大部分的喇叭都能有不錯的表現,考量其價格如果我們要更換擴大機,勢必要花上一筆不小預算才會有意義的提升,這也是為什么我們一直沒有更換F-03A的原因,不少用家也跟我們回饋對F-03A相當滿意,Esoteric不只數字轉盤做得好,擴大機也是一絕。


原廠的信息就直接表明,F-01/F-02承襲了自家旗艦Grandioso “X”的精華技術,是Esoteric最新、最好的綜擴,其主要特點包括:
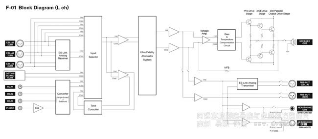
前級部份
● 與旗艦Grandioso C1X相同之全平衡雙單聲道設計線路
● Esoteric獨家“Ultra Fidelity Attenuator System”音控 – UFA-1792
● 極細致之音控調整,共1,120階,每階0.1dB,前級增益設定為+12dB
● 3組Esoteric獨家的“ES-Link Analog”模擬輸入
● 兩組全平衡雙單聲道耳擴輸出(平衡4-Pin XLR/非平衡6.3mm)
● 雙單聲道MM/MC唱放輸出(RCA)
● 3段平衡音色調整,每組輸入可獨立設定
● ES-Link Analog(x1)/XLR(x1)模擬前級輸出,可外接后級(如S-05)
● 專屬DC電源輸入,可供內部前級升級外獨立電源
● 前級增益4階可調 (0/+6/+12/+18dB),以跟不同后級匹配
后級部份
● 與旗艦后級Grandioso M1X/S1X一樣純凈直接之線路設計
● 純A類30W輸出(8歐姆),60W(4歐姆),完美線性輸出
● 放大級等相關線路為雙單聲道設計
● 強力輸出雙級3對功率晶體管推挽架構
● 大型940VA EI變壓器
● 聲道獨立旗艦Grandioso等級之客制化電容(10,000μF x 4/ch)
● 特別設計之波浪形散熱器以減少峰值震動
其他部份
● 獨立可調之輸入增益(±18dB; 0.1dB steps)
● 左右聲道平衡調整(0.1dB steps)
● 音量Bypass功能能與AV系統整合
● 全鋁合金遙控器(RC-1339),亦可控制Esoteric其他產品
● 訊號輸入來源名稱可設定
● 靜音、屏幕亮度、自動顯示關閉等功能
● 連動整合控制界面(RS-232C, trigger input / output)
左邊為“Input”輸入來源選擇鈕,長壓就是電源開關,右邊為“Volume”音量控制,長壓就會靜音
按下音量旋鈕左下方的小按鈕就可打開前方面板,有耳機輸出(4-pin XLR, 6.3mm),OUTPUT輸出選擇與MENU菜單,那個USB是供日后軟件維護更新之用
與旗艦Grandioso相同之高精度旋鈕,由一整塊鋁合金CNC制成

F-01的背面,可看出全面搭載了Esoteric獨家的ESL-A模擬輸入與輸出接口,要使用ESL-A(ES-Link Analog)搭配的器材也必需要有ESL-A,“OPTION BOARD SLOT”可選配安裝OP-DAC1 DAC模塊或OP-ESLA1模擬輸入模塊,電源輸入旁多了一個藍色DC電源的輸入給前級之用,未來可選配升級獨立電源PS-01F


即將推出之PS-01F獨立電源
新一代的Esoteric上蓋都采用半浮動設計了,因為根據Esoteric研發團隊的試驗,聲音會有明顯的提升,F-01為真正雙單聲道全平衡線路,前方中央為一顆大型940VA的EI變壓器



左方兩個為前級輸入線路板,最右方為前級線路,均為完全獨立,前級的電源與邏輯線路板亦是獨立的,追求最高的聲音質量
Esoteric自家開發的級進式音量模塊UFA-1792,音量調整可細微到0.1dB

F-01所使用的超規格大型EI變壓器,并且避免加入保護外殼對變壓器所造成電流的抑制而影響聲音表現,另使用Esoteric特訂旗艦Grandioso等級之高品質電容,每聲道共使用4顆10,000μF,確保隨時能提供足夠與純凈的電源
F-01采用最短路徑設計,共使用3對推挽雙極電晶體,最小化負回授之設計,并加入溫度補償線路以確保整體工作溫度維持在最佳狀態
F-01單一左聲道之線路“黑盒子”,右聲道完全一樣
連避震腳墊都能制作的如此精美,穩固支撐著重達32Kg的F-01,并消除可能震動
雙面精美的專屬遙控器RC-1339,鋁合金制作,也可遙控Esoteric其他器材
最新世代的中高階機種 (Ted Chen)
以訊源聞名的Esoteric在近年推出越來越多的擴大機產品,長期評測的我們也不斷接觸不同世代、 型號的Esoteric擴大機,一路以來累積的使用心得也越來越豐富,其實本刊也長期使用Esoteric的擴大機做為參考機種,目前服役的是F-03A綜合擴大機,在代理商的支持下也曾多次測試不同等級的產品,相信可以給予感興趣的消費者一些參考性的建議。 本次測試的Esoteric F-01隸屬于中高階型號,推力是左右聲道各30瓦/8歐姆的純A類綜合擴大機,這與我們使用的F-03A在輸出功率上的規格一致,同樣都是A類30瓦,但其實兩者屬于不同世代的產品,當時F-03A推出時還未有自家ES-LINK Analog電流傳輸設計,新的F-01則具備新的傳輸方式,在搭配自家訊源或是后級擴大機時能有更好的傳輸方式,其更是承襲品牌旗艦Grandioso系列的新技術所下放的技術和電路結構,已經不可同日而語。
大幅向前跨進一步
在我們實際聆聽比較F-01與F-03A時,F-01無論是在聲音的分辨率、整體控制力、低頻反應速度和音質上皆有明顯提升,兩者的音色則是相近。 在低音量使用F-01時,不同頻段的對比已經相當明顯,白話的說就是聲音不是平的,而是有明確的起伏明暗,聲音面向空間所推出能量已經相當有感,能夠聽到音樂豐富的細節內容。 在大音量使用F-01時聲音非常穩定,毫無失控感,聲音輪廓同樣保持清晰卻提供更多的能量輸出,低頻速度和干凈的收尾能力明顯告訴聆聽者這是一部具有水平的綜合擴大機。 整體與F-03A相比下,在音色上聽得出明顯是同品牌的兄弟機,但在質感和性能上則是提高一個層次,對于喇叭的掌握度和表現力上市不同層級的產品,十分明確。



理性與感性兼具的質感
聆聽時參考Ellie Goulding《Halcyon Dyas》專輯,從《How Long Will I Love You》的鋼琴演示出了干凈剔透又有厚度的琴聲,不是單薄無力淪為配角的伴奏,而是能與演唱者一搭一唱的角色,兩者相輔相成。 演唱時力量的細微控制和喉部嗓音的細節都很清楚,F-01的聲音是有厚度有暖意且清晰的,小音量不缺失、大音量也不吵雜,好聽而耐聽,在聲音速度與穩定度上都非常平穩,F-01在實際聲音表現上非常優秀。

化繁為簡、清晰平穩
參考一張Janine Jansen演奏的《On Vivaldi: The Four Seaseons》,在更大型的古典樂當中,F-01仍然讓音樂內容粒粒分明,在此更能感受到聲音音像的分離度和干凈度,沒有雜亂或者是混濁的現象,整體音樂畫面相當清晰通透,背景漆黑。 小提琴的琴聲既有線條、厚度又有穿透力非常耐聽,四季是非常為人熟知的經典曲目,音樂隨著春夏秋冬四季起伏,有非常豐富的內容,Janine的演奏如同呼吸一樣自然、充滿細節、速度快慢協調,整體聽起來四平八穩,節奏非常穩定,F-01讓聆聽者很容易體會并了解這張專輯內容。

聲音無瑕且收放快速 (Wacko Wang)
評測先聽到José James的歌曲 “ Lovely Day ” 來參考,覺得Esoteric F-01的低頻表現挺亮眼的,豪不費力就表現出渾厚充沛的感覺。 所選擇的曲目雖然本身并沒有太過震撼的低頻,不過聲音依舊在背后表現出無法忽略份量十足的沉穩厚重,同時也注意到聲音收放絕佳,盡管聲音如此飽滿厚實,但能量的吞吐、聲音的收縮都相當輕快,猶如一顆彈性十足的皮球一般,又像是顆顆啵啵爆開的泡泡一樣,彈跳感相當輕快,都能輕松在腦海中描繪出喇叭、單體快速震動的畫面。
且盡管聲音相當充沛,依舊能清晰聽見之間的各種斷點,音量不用開得很大,就能輕松感覺到音樂充滿著整個空間,且于聲音的各處都充斥著能量感,即便是最輕柔的段落也感覺到聲音維持著無瑕的絲滑感。 飽足的能量也令樂器的形體相當鮮明,間歇出現的鈸或銅管樂器都在一片相當舒適的低頻之中脫穎而出,且各自的聲音也不會顯得很突兀,而是互相銜接得相當流暢,種種表現都使歌曲聽起來更感豐富、動態感更加充沛。

接著透過同一首歌曲來前后比較,我們自己原本使用的F-03A與F-01之間的差異如何。 個人覺得F-01表現在聲音的飽滿、音樂的動態、曲目的細節等都有滿多的提升。 首先是歌曲的低頻,使用F-01播放的時候動態感顯著的有所增加,且也覺得聲音的立體輪廓刻劃比較深,深度與線條都有著更好的表現,尤其是聲音尾端,F-01的表現是更加利落。 至于鈸聲則是個人覺得F-01比較脆一點,而F-03A的鈸聲雖沒那么清脆,但相較之下在整首歌曲中略顯突出,銅管樂器則是F-01的表現感到比較有厚度且比較有光澤,聽起來會較為滿足。
最直接的詮釋、最單純的享受
接著播放Priscilla Ahn的 “ Dream ” 試聽,覺得演唱的聲音相當干凈清晰,且歌曲的對比度非常充足。 在歌曲的開頭就能明確感受到,聲音自左邊開始,慢慢流瀉直至充滿整個空間,也在歌曲最初就能清楚聽見,聲音出色的令樂器質地鮮明的表現出來,從一開始定位于某一側的琴弦聲響,就已留下了相當深刻的印象,樂器的身形與演奏都很立體、很栩栩如生,整體感覺就像是Esoteric F-01在聲音的背后推了一把,或是將聲音前方的帷幕揭開,又像是抹去了前面點點灰塵一樣,聲音整個更往前更顯眼些,也更加突出與更有輪廓。

聲音各種的變化也因此而有更為深刻的感受,從溫柔卻又堅定的嗚嗚聲響,到囈語一般的輕巧呢喃,就如隨著一陣清風,柔和又穩定的將眼前的畫面吹往一塊寧靜祥和的草原上,而當歌聲唱到最高點時,則更有種眼前的畫面隨著聲音挑高,抬頭望向干凈、 一望無際的天空一樣,頓時不須太多矯揉造作的裝飾陪襯,令聽者仿佛直接感受到與歌詞相互呼應,可以說Esoteric F-01完全解放了聲音,將歌曲詮釋的淋漓盡致。 同樣來比較原本F-03A與F-01之間的差異,最顯著的應該就是聲音許多地方都有力許多。 本以為如此柔美的歌曲差異應該不會太大,但卻可以明顯聽見,F-01在曲目中最輕柔的地方維持的同樣的優美,但其他許多部份卻有著力度不一的增加,即便是如此溫柔的音樂都增添幾分勁度,就連低音的弦聲都向下沉了幾分更加的顯眼。 整體感覺F-03A能輕松享受歌聲的甜,但F-01除了甜美之外,各色高音的分離又更好,層次感也較為豐富,音樂晉升成了更為全面性的環繞式演出。

耳機更見環繞感十足的豐富音樂特性
試聽Esoteric F-01的耳機系統,聆聽時會覺得歌曲的音樂性依舊相當充足。 先嘗試聽回 “ Lovely Day ” 來感受,仍然能注意到樂器的彈跳相當充足明顯,鼓聲的表現維持一樣的舒適感,同時也注意到鈸聲的清脆、打擊的手感等。 且在包覆的耳機系統中,也聽出聲音之間位置間距與層次感都相當不錯,在以低頻打底而人聲為主軸的歌曲中,都能聽出各種樂器,或左或右、或上或下不同位置的出色表現。


接著播放The Civil Wars的 “ 20 Years ” 參考,以耳機來說聲音更加貼近耳朵,但聲音并無因此而顯得含糊、干擾,反而更能聽到豐沛的動態感受,且個人感覺無論是耳機或是直推喇叭,Esoteric F-01都將聲音表現得很活靈活現。 例如本曲開頭的琴聲,表現的音符顆顆輕快同時也飽含本身彈性的質地,也凸顯了聲音對比度的優秀,時而濃郁時而輕巧的聲音中,濃者韻味充足淡則靈巧活潑,彼此的銜接卻又相當流暢,無論是透過喇叭或是耳機聆聽都享受到非常令人滿意的音樂特性。

Esoteric F-01綜合擴大機
● 輸出功率: 純A類30W + 30W (8Ω), 60W + 60W (4Ω)
● 模擬輸入: ES-Link Analog/XLR x 3組, RCA x 3組, MM/MC唱放 x 1組
● 模擬輸出: ES-Link Analog/XLR x 1組, XLR x 1組
● 耳機輸出: 6.3mm x 1, 4-pin XLR x 1
● 頻率響應: 10Hz to 100kHz (0dB/–3.0dB, 1W output)
● 訊噪比: 104dB (IHF-A)
● 總諧波失真: 0.008% (1kHz, 8Ω, 30W
● 阻尼細數: 500
● Made in Japan,日本設計生產
● 尺寸: 445 × 191 × 471mm
● 重量: 32.2kg
















